EDI超純水係統為何需要清洗EDI?
文章出處:admin 人氣:發表時間:2020-04-10
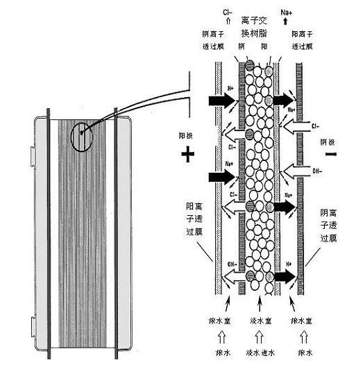
在許多的超純水係統中,EDI超純水係統是功能性較強,費用也相對比較高的超純水係統,在這次疫情中許多的製藥企業(ye) 采用的就是EDI超純水係統,電去離子要比一般的樹脂去除離子能力強而且也不會(hui) 附帶對人體(ti) 有影響的離子在水中,對人體(ti) 比較好。

EDI超純水係統是將電滲析技術與(yu) 離子交換技術有機地結合在一起的膜分離脫鹽技術,具有連續出水和不需要酸堿再生的優(you) 點,一般價(jia) 格比樹脂的要高出很多,但是從(cong) 長遠的角度看,EDI費用要比樹脂費用少很多,因此許多的於(yu) 電子、電力、光伏、醫藥、化工等行業(ye) 都會(hui) 選擇EDI超純水係統作為(wei) 核心淨水係統。
在EDI超純水係統中,由於(yu) 各個(ge) 部位的水箱並非是全密封模式,所以很大程度的有細菌、真菌等物質進入水中,而在EDI連續運行的時間中,這些物質會(hui) 不斷的累積在EDI表麵,加重EDI處理能力和速率,導致產(chan) 水速度變慢,加大產(chan) 水成本,導致EDI 濃水通道和極水通道出現結垢,所以EDI超純水係統需要每隔一段時間進行設備清理才能保證其作用。
此文關鍵詞:EDI超純水係統為何需要清洗EDI?
同類文章排行
- 實驗室超純水機ro和up分別
- 超純水中有多少溶解氧?
- 實驗室用水問題解答
- 實驗室超純水機出水有氣
- 餘氯含量對超純水機耗材
- 實驗室純水機產出RO水呈酸
- 超純水機水質達到18.2ΩM
- RO純水與EDI超純水可以相互
- 國產專用實驗室超純水機
- 實驗室超純水儀的工作原
