EDI超純水係統清洗EDI方案
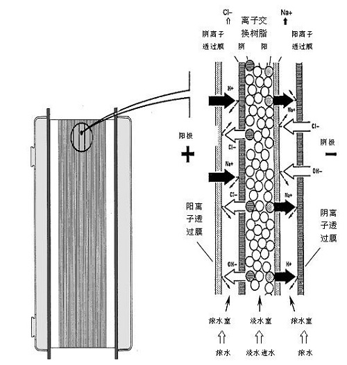
EDI超純水係統是比較重要的超純水係統,而作為(wei) 重要零部件的EDI更是在係統中承擔著重要的作用,這種技術的核心采用的是一種將離子交換技術,離子交換膜技術和離子電遷移技術相結合的純水製造技術,屬高科技綠色環保技術。
EDI超純水處理設備具有連續出水、無需酸堿再生和無人值守等優(you) 點,已在製備純水的係統中逐步代替混床作為(wei) 精處理設備使用。EDI超純水處理設備的環保特性好,操作使用簡便,愈來愈多地被人們(men) 所認可,也愈來愈多廣泛地在醫藥、電子、電力、化工等行業(ye) 得到推廣。

前處理工藝主要為(wei) 超濾、三級反滲透、TOC 降解紫外燈和脫氣膜裝置,雖然在前置預處理中可以很好地杜絕大部分的雜質進入EDI中,但由各個(ge) 單元部分並非完全的密封狀態,所以依然會(hui) 有微生物進入水中,而這部分微生物會(hui) 不斷的累積在EDI表麵,堵塞EDI離子交換通道,從(cong) 而堵塞整個(ge) 製水過程。同時在不同季節中,由於(yu) 前置預處理部分會(hui) 由溫度控製產(chan) 水量,所以也會(hui) 導致前置預處理能力下降,加重EDI水處理負擔,從(cong) 而更容易的堵塞EDI離子交換通道,導致EDI各項運行指標下降,降低了最終的產(chan) 水水質
。
為(wei) 了保證EDI產(chan) 生性能的穩定,通過對EDI裝置的研究與(yu) 各種科學文獻的結果,滲源科技有限公司摸索出適合於(yu) 不同係統的EDI清洗方案,而根據不同企業(ye) 的需求性和功能性不同,EDI清洗方案會(hui) 隨之改變,一般EDI清洗約為(wei) 一年左右的時間,這時候隻要不是用水非常大量的情況,都不會(hui) 出現嚴(yan) 重的水質下降情況,可以很好地保證水質情況。
該方案主要使用用酸性清洗、堿性清洗和滅菌維護逐步進行。酸性清洗的藥劑主要選用鹽酸用於(yu) 清洗濃水道、極水道的碳酸鹽垢、硫酸鈣、金屬氧化物和鐵鋁膠體(ti) 等,堿性清洗的藥劑主要選用固體(ti) NaOH,主要用於(yu) 清洗淡水道的有機物、膠體(ti) 汙染等,滅菌過程選用的藥劑是殺菌劑,殺菌劑需要選擇對膜表麵無氧化反應的殺菌劑。
清洗注意事項:
1、清洗過程中要將清洗藥液溫度盡可能控製在 30 攝氏度左右,因為(wei) 藥液溫度過低或過高均不利於(yu) 提升清洗效果。
2、直通清洗和循環清洗過程均采用藥液小流量、低壓力方式進行,以避免對 EDI 裝置使用壽命造成影響。
3、每完成一項清洗步驟,務必用二級反滲透產(chan) 水衝(chong) 洗清洗水箱,係統管路及 EDI 內(nei) 部,才可進行下一步清洗步驟,避免酸、堿在 EDI 裝置內(nei) 部混和。
4、EDI 清洗藥品純度要求高袁 最好為(wei) 分析級,如采用雜質較高的藥品或不明來源的藥品, 會(hui) 對純水係統及 EDI 裝置造成汙染影響水質,尤其對於(yu) 用在微電子行業(ye) 的超純水係統,在使用清洗 EDI 的相關(guan) 藥品時必須更加注意。
5、滅菌過程最好采用無殘留的非氧化型殺菌劑,避免氧化劑對 EDI 內(nei) 部樹脂及半透膜產(chan) 生降解作用,縮短 EDI 使用壽命。
6、EDI係統化學清洗後還不能直接投入運行,因為(wei) 化學清洗及滅菌會(hui) 破壞EDI內(nei) 部離子交換樹脂帶電電荷平衡,使裝置清洗完成後初始運行產(chan) 水達不到合格標準,需要通過對EDI帶電一段時間使離子交換樹脂在電場的作用下再生,EDI電再生前要確認調整EDI的運行壓力和流量至清洗前的正常狀態後,並將EDI產(chan) 水回流至二級反滲透產(chan) 水箱以便節水對整流器送電開始再生,每模塊運行電流最好控製在2.5 A電壓100 V左右,通過重新再生袁產(chan) 水電阻率約4 h後可以提高至1 MΩcm約30 h產(chan) 水電阻率可提升至17 MΩcm以上。

在EDI超純水係統中,EDI的清洗並不是決(jue) 定水質好壞的標準,假如前置預處理部分不行,對於(yu) EDI裝置的損耗也會(hui) 很大,這樣也會(hui) 導致EDI設備出現問題,導致最終水質不行,所以我們(men) 在設計EDI超純水係統時,就需要對每一個(ge) 單元要有清晰的認知,才能使得最終的效果達到最好。
同類文章排行
- 超純水機ro和up的ph值一般
- 實驗室超純水機RO膜哪個是
- 電導率和電阻值之間如何
- 超純水機的電阻值多少範
- 樹脂的壽命一般是多久?
- 2020版中國藥典純化水要求
- 純水機中的廢水比的工作
- 實驗室動物飲用水標準有
- 超純水機ro水和up水的區別
- 實驗室17種有毒試劑介紹
